Instrumentpanel

Instrumentpanel
Filter
Sätt fallande sortering

2 artiklar

per sida
Visa som Rutnät Listvy
  1. Lägg till i jämför
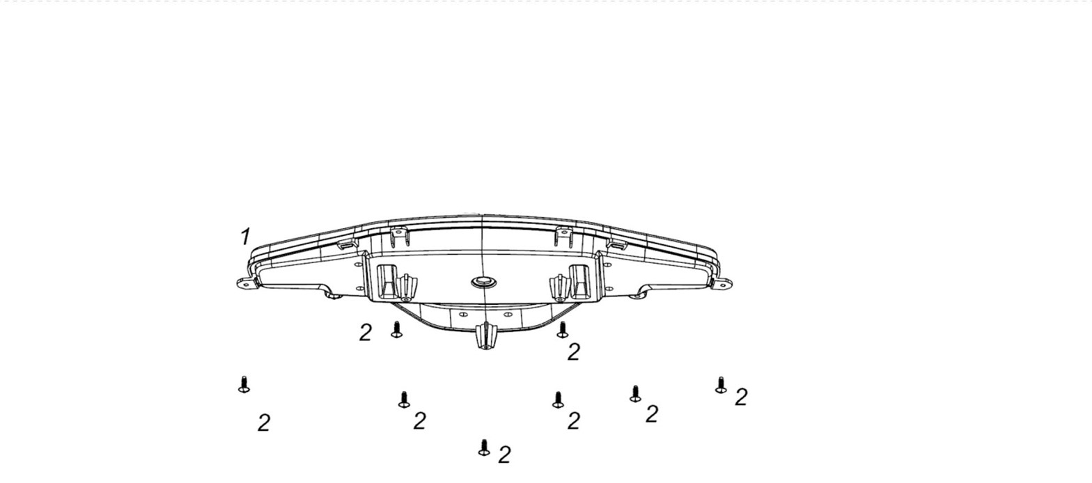
    4. [E3/E4]Cross recessed pan head tapping screw 40206004
    Rating:
    0%
    I lager
    17 kr
  2. Lägg till i jämför
    1. MQi GT Dashboard Assembly 10303043
    Rating:
    0%
    I lager
    6188 kr
Filter
Sätt fallande sortering

2 artiklar

per sida
Visa som Rutnät Listvy